Ваш город: Екатеринбург
  • пн-чт: с 9:00 до 18:00
  • пт: с 9:00 до 17:00
  • сб-вс: выходной
Комплексное снабжение
электротехнической продукцией
В корзине
Пусто
Артикул: 520

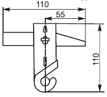
Крюк У623Б

Производитель: Завод ЭМИ Красноярск
Цена 65,64 р.

Наличие товара уточняйте у менеджеров

Описание
Характеристики

Крюк У623Б – это незаменимый элемент в процессе монтажа осветительных приборов. Производителем данного изделия является Завод ЭМИ в г. Красноярск. Материал изготовления крюка – сталь, что гарантирует его прочность и надежность.

Крюк У623Б предназначен для подвески светильников общей массой не более 5 кг, обеспечивая их надежную фиксацию. Благодаря особой форме, данный крюк обладает высокой стабильностью и устойчивостью, что предотвращает возможное падение осветительного прибора в будущем.

Отличительной особенностью крюка У623Б является возможность регулирования высоты подвеса светильника. Для этого крюк оснащен специальной планкой, которую можно переставлять на нужное расстояние в зависимости от высоты потолка или других особенностей помещения. Это значительно упрощает процесс монтажа и позволяет добиться максимально эффективного и эстетичного результата.


Также вам могут быть интересны следующие товары:


Характеристики:
  • Сертификат
    ПИСЬМО 1332-150121.1
  • Тип изделия
    Метизы и крепежные изделия
  • Страна
    Россия
  • Нормативный документ
    ТУ3464-016-01395331-2011. Код ОКП 34 6473
  • Климатическое исполнение
    У3
  • Материал изделия
    Сталь
  • Производитель
    Завод ЭМИ Красноярск
  • Цвет
    Серый
  • Длина, мм
    100
  • Покрытие
    Гальваническое
  • Ед.измерения
    шт.
  • Артикул расширенный
    520
Показать все характеристики
Огромный
ассортимент
в наличии
Свыше 450 000 наименований электротоваров в наличии на 4 складах.
Комплексная
поставка
Полностью обеспечиваем потребности заказчиков, гарантируем отсутствие проблем с поставками, качеством, сроками.
Низкие цены
Поддерживаем разумные цены за счет работы напрямую с крупнейшими заводами-производителями.
Оперативность
Комплектуем заказы в считанные часы. Доставка в пределах Екатеринбурга происходит на следующий день после оформления заявки.
Опытные
менеджеры
Сотрудники ежемесячно проходят обучение, и смогут компетентно подобрать равноценную замену товару, если его нет в наличии.
Быстрая
обработка
заявок
Своевременно отвечаем на запросы. До нас всегда можно дозвониться и получить консультацию.

Похожие товары из категории «Метизы и крепежные изделия»

Вы смотрели

У вас остались вопросы?
Звоните по телефону 8 (343) 243-65-31 или оставьте заявку онлайн
Прикрепить реквизиты или техническое задание
Я даю согласие на обработку персональных данных
в соответствии с политикой конфиденциальности

Продолжая использовать наш сайт, вы даёте согласие на обработку файлов cookie в целях функционирования сайта и сбора статистики в соответствии с политикой конфиденциальности